Z41F46襯氟閘閥
產品概況
產品型號:Z41F46
公稱通徑:DN15~500mm
壓力等級: 0.6、1.0、1.6MPa
適用溫度:≤100℃、≤120℃、≤150℃、(可按照襯里材料)
設計與制造:GB12234
結構長度:GB12221(長系列)、JB97
法蘭連接尺寸:JB78 JB79 GB9113 HG SH
Z41F46襯氟閘閥產品用途
百鋼閥門集團生產銷售的Z41F46襯氟閘閥專用于控制強腐蝕性介質,閥體內腔表面覆有可供選擇的各種氟塑料,適用于不同工作溫度和流體管路,具有強度高、耐腐蝕性能好的特點。
Z41F46襯氟閘閥測試
襯里層:電火花檢測
實驗與檢驗按GB/T13927標準
公稱壓力:PN閥體:PN×1.5 密封:PN×1.1
Z41F46襯氟閘閥主要零件材料
閥體:鑄鐵、碳鋼、不銹鋼、低碳不銹鋼 閥蓋:鑄鐵、碳鋼、不銹鋼、低碳不銹鋼
襯里:氟塑料 閥板:碳鋼完全包覆氟塑料 支架:碳鋼
閥桿:2Cr13 1Cr18Ni9,部分包覆氟塑料 手輪:鑄鐵、碳鋼
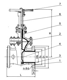
部件列表
1、閥體2、閥蓋3、閥體襯里4、閘板5、閥桿6、支架7、手輪
注:表中L值DN≤32按JB97 PN4.0MPa.DN≥40按GB12221長系列。
| 公稱通徑 | L | D | D1 | ||||||||||
|
DN |
NPS |
0.6 |
1.0 |
1.6 |
2.5 |
0.6 |
1.0 |
1.6 |
2.5 |
0.6 |
1.0 |
1.6 |
2.5 |
|
15 |
1/2 |
130 |
130 |
130 |
130 |
80 |
95 |
95 |
95 |
55 |
65 |
65 |
65 |
|
20 |
3/4 |
150 |
150 |
150 |
150 |
90 |
105 |
105 |
105 |
65 |
75 |
75 |
75 |
|
25 |
1 |
160 |
160 |
160 |
160 |
100 |
115 |
115 |
115 |
75 |
85 |
85 |
85 |
|
32 |
11/4 |
180 |
180 |
180 |
180 |
120 |
135 |
135 |
135 |
90 |
100 |
100 |
100 |
|
40 |
11/2 |
240 |
240 |
240 |
240 |
130 |
145 |
145 |
145 |
100 |
110 |
110 |
110 |
|
50 |
2 |
250 |
250 |
250 |
250 |
140 |
160 |
160 |
160 |
110 |
125 |
125 |
125 |
|
65 |
21/2 |
270 |
270 |
270 |
270 |
160 |
180 |
180 |
180 |
130 |
145 |
145 |
145 |
|
80 |
3 |
280 |
280 |
280 |
280 |
185 |
195 |
195 |
195 |
150 |
160 |
160 |
160 |
|
100 |
4 |
300 |
300 |
300 |
300 |
205 |
215 |
215 |
230 |
170 |
180 |
180 |
190 |
|
125 |
5 |
325 |
325 |
325 |
325 |
235 |
245 |
245 |
270 |
200 |
210 |
210 |
220 |
|
150 |
6 |
350 |
350 |
350 |
350 |
260 |
280 |
280 |
300 |
225 |
240 |
240 |
250 |
|
200 |
8 |
400 |
400 |
400 |
400 |
315 |
335 |
335 |
360 |
280 |
295 |
295 |
310 |
|
250 |
10 |
450 |
450 |
450 |
450 |
370 |
390 |
405 |
425 |
335 |
350 |
355 |
370 |
|
300 |
12 |
500 |
500 |
500 |
500 |
435 |
440 |
460 |
485 |
395 |
400 |
410 |
430 |
|
350 |
14 |
550 |
550 |
550 |
|
485 |
500 |
520 |
|
445 |
460 |
470 |
|
|
400 |
16 |
600 |
600 |
600 |
|
535 |
565 |
580 |
|
495 |
515 |
525 |
|
|
450 |
18 |
650 |
650 |
650 |
|
590 |
615 |
640 |
|
550 |
565 |
585 |
|
|
500 |
20 |
700 |
700 |
700 |
|
640 |
670 |
705 |
|
600 |
620 |
650 |
|
溫馨提示:
本文中所有文字、數據、圖片均只適用于參考。需要查看更多的Z41F46襯氟閘閥性能參數、結構尺寸參數、價格等詳情,或要求高質量印刷樣本,請聯系我們。